阿米巴经营模式的落地是一项系统工程,专业的阿米巴经营软件是成功落地的决定因素。我们有近二十年帮助各种类型企业实施精细化管理的经验,以专业化、模块化的软件平台作为落地工具,为不同行业提供最佳阿米巴经营模式落地解决方案。

阿米巴智能构建

  • 阿米巴组织划分不同于传统的财务核算组织划分方式,有如下几种划分依据:
  • 是否有清晰的收入和支出
  • 是否能够履行交易的完整职能
  • 是否符合企业的战略规划
  • 是否有合适的巴长人选
  • 通常阿米巴组织分为利润巴、成本巴、费用巴三种类型,不同类型阿米巴组织其核算科目、核算报表、KPI指标都有所不同
  • 软件提供组织架构图、数据列表两种方式进行阿米巴组织的增加删除、修改操作
  • 阿米巴核算科目与传统的财务核算科目相比,有系统性更强、更加细化、注重时效性三个特征
  • 提供多种行业阿米巴核算科目模板,可以一键导入标准阿米巴核算科目
  • 提供辅助核算功能,可以把产品类别、物料类别、客户供应商、项目类别等作为辅助核算项目,在核算报表与经营分析中进行精细化核算与分析
  • 内部市场化是阿米巴经营的主要体现,各个阿米巴之间通过交易实现利润量化,是“阿米巴经营模式”的重要内涵
  • 阿米巴交易定价就是企业内各阿米巴组织之间相互提供产品、半成品或服务而引起的相互结算的一种计价标准,软件提供标准成本加成、佣金比例测算、协商定价三种交易定价方式
  • 设置交易的买方、卖方,交易内容(产品、半成品、服务等)、交易定价、交易双方的核算科目
  • 软件支持一对多交易设置
  • 在阿米巴智慧经营软件中,可按照利润巴、成本巴、费用巴的考核侧重点,分别设置各种类型阿米巴的关键考核指标及权重
  • 使用软件提供的功能强大的自定义函数,可灵活设置计算公式,根据阿米巴核算报表数据自动计算KPI
  • 各阿米巴组织的KPI结果,与定性考核结果一起,按照权重,计算各阿米巴组织的效能评价总分,软件根据分值自动计算阿米巴绩效奖金分配金额
  • 在软件中,需要分摊的费用主要包括不能明确归属到具体的阿米巴或部门的费用或应该由多个下级阿米巴分担的上级阿米巴费用
  • 费用分摊可以按照收入占比、利润占比、单位时间附加值、人数、面积等参数进行分摊
  • 在费用分摊设置模块中,利用软件提供的计算函数,统一设置各项分摊费用的计算公式,月底实现一键分摊计算
  • 阿米巴经营核算报表与传统财务会计报表相比,其遵循的核算准则、核算对象、核算周期都不同,所以不能按照传统财务会计报表的方式构建阿米巴经营核算报表
  • 软件提供自定义报表构建功能,可以按照阿米巴核算规则灵活构建利润巴、成本巴、费用巴的阿米巴核算报表
  • 在软件中,阿米巴核算报表的每一项数据都来源于业务单据,利用软件提供的自定义函数设置好核算科目的计算公式后,可以实现阿米巴核算报表的自动计算

阿米巴经营计划

在阿米巴智慧经营软件中,预算目标是导向,从企业、事业部、部室车间、班组个人形成以工作标准为基础的全覆盖的精细化预算目标体系,有助于增强成本管控的力度,保证预算指标的有效落实;以预算指标为标准,可以为阿米巴经营核算及内部交易制定标准定价;以预算实际发生数与预算指标的对比分析,可以由软件自动发现经营问题,并借助人工智能和大数据分析技术,从人、财、物、时等多个维度分析问题产生的原因,制定合理有效的经营改善方案,实现经营持续改进。
  • 采用零基预算、增减量预算相结合的预算编制方式,实现从企业经营战略制定,到年度经营计划编制、月度经营计划编制、月度计划执行分析的全过程管理
  • 建立预算指标分解机制,由公司下达经营指标开始,细化分解经营预算指标至作业、项目、形成各级阿米巴经营指标考核体系,建立实施精细化预算管理的保障体系

阿米巴经营核算

  • 智能化费用管理模块,涵盖企业全部费用支出场景,每笔费用支出可以进行事前计划、事中控制、事后分析,做到花钱有计划、支出有效果,可有效降低企业费用支出
  • 应用人工智能、自学习与语义分析技术,填报费用支出单据时只需填写费用用途,软件自动判断核算科目,自动把数据归集到阿米巴核算报表
  • 费用支出单据可以自定义审批流程,支持手机审批
  • 根据阿米巴收入、支出数据录入场景,提供两种数据录入方式:
  • 根据阿米巴收入、支出数据职能管理部门统一录入各巴的收入、支出数据
  • 各巴核算员录入本巴的收入、支出数据
  • 阿米巴收入单据、阿米巴支出单据可自定义审批流程,软件支持手机单据录入及审批
  • 在阿米巴经营中,如果两个阿米巴之间发生产品及服务的交易,需要由卖方填写内部交易单
  • 内部交易单由买方进行单据审核确认后,软件自动把交易数据登录到交易双方的阿米巴核算报表中
  • 卖方在填写内部交易单时,需要选择在“交易流程设置”模块中事先定义好的交易项目,软件自动带入交易双方的核算科目、交易内容、交易单价等数据,只需填写交易数量即可
  • 阿米巴智慧经营软件包含完整的ERP软件模块:
  • 主数据管理 
  • 客户供应商管理 
  • 采购管理
  • 销售管理 
  • 库存管理 
  • 生产计划管理
  • 车间生产管理 
  • 设备管理 
  • 质量管理
  • 主数据管理 
  • 客户供应商管理 
  • 采购管理
  • 销售管理 
  • 库存管理 
  • 生产计划管理
  • 车间生产管理 
  • 设备管理 
  • 质量管理
  • 质量管理
  • 在阿米巴智慧经营软件中,ERP软件模块为阿米巴经营核算提供数据,ERP软件模块中的销售发货单、产品(半成品)入库单、项目回款单等业务单据自动统计为阿米巴的收入;领料单、其它材料出库单等业务单据自动统计为阿米巴的支出
  • 阿米巴智慧经营软件也可以与企业现有的用友、金蝶、SAP等其它ERP软件通过数据接口进行集成,按照设置的数据同步规则,自动采集业务数据,并按照阿米巴核算逻辑进行业务数据整理,满足阿米巴核算的要求

项目管理

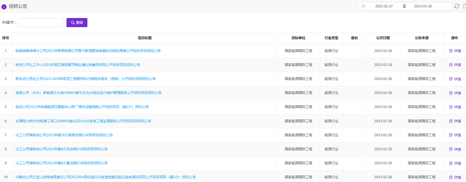
  • 通过抓取关键字的设置,针对想要关注的招投标信息,可进行定制化信息收集,从其他第三方平台收录到本平台数据仓库中,集中展现查找
  • 可设置开标提醒,设置定时发送关注偏好信息,消息推送至手机端(企业微信消息或手机短信等),让您不再错过企业招投标信息
  • 符合对方招标信息中的条件,可以一键生成投标项目
  • 项目投标过程的管控,从投标前期(业务基本信息、报名/购买文件、接收资料、投标保证金),投标中期(任务分配、标段信息、投标文件),投标后期(投标结果、中标激励、其他人报价、档案管理、后续工作)
  • 投标项目中标后,可关联合同信息,并进行项目的过程管理。投标项目未中标,保证金、履约金的退还提醒
  • 建立投标大数据(包括维护其他人报价),数据赋能,给投标人员投标项目提供数据支持
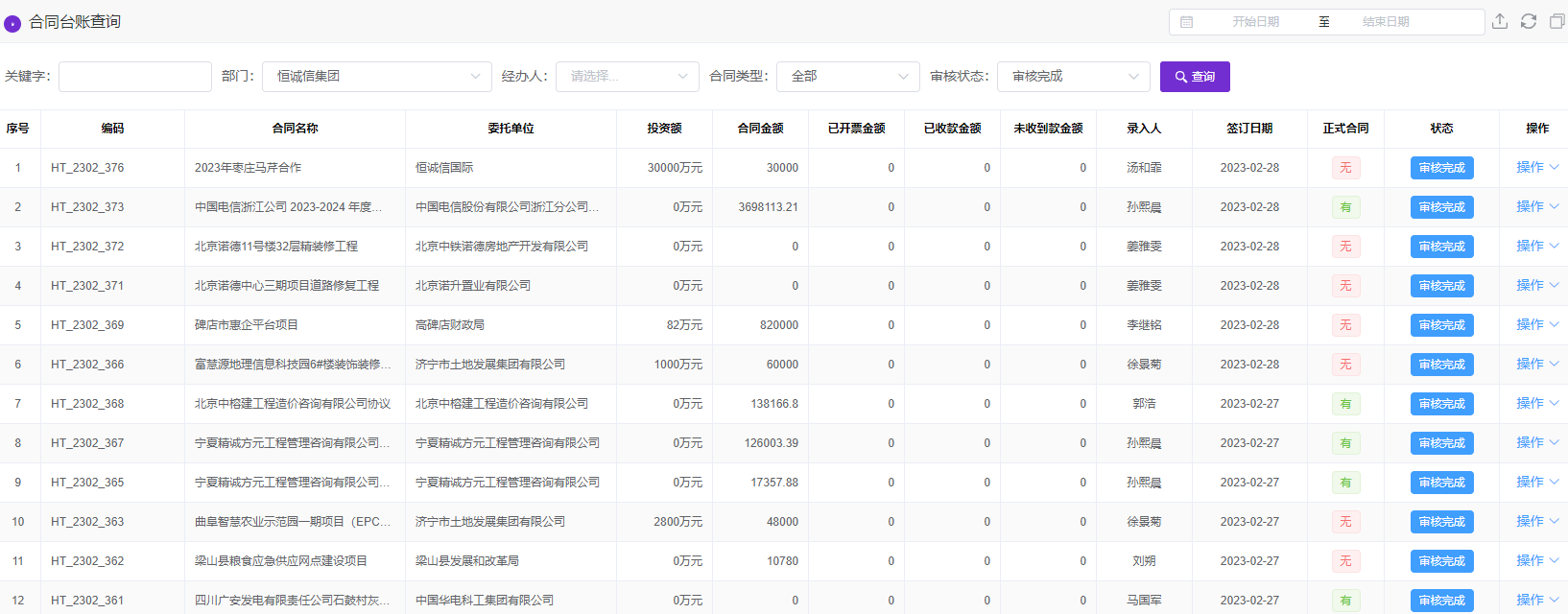
  • 合同管理按照合同的类型分为业务合同、联合合同、入围合同及付款合同。对合同的收款、付款等操作进行流程审核
  • 合同台账查询,实时查询合同的已开票金额、已收款金额、未收款金额等
  • 合同借阅管理,对合同文本文件的存档及借阅信息的监控
  • 根据项目计划自动生成项目计划甘特图,简洁明了,有效提升项目经理的管理效率
  • 通过项目计划甘特图,能实时反映项目的进展,评估项目真实的时间范围,项目经理根据有效的资源进行工作任务的调度
  • 项目管理过程的管控,从项目前期(项目信息、安排业务),项目中期(任务分配、项目资料、工作填报、项目工作内容审核),项目后期(奖金分配、项目报销、项目核算、项目归档)
  • 项目任务分配,从阿米巴标准作业中关联标准工作,根据项目实际情况进行标准工作+自定义工作的工作安排及分配
  • 项目管理内容审核,从审核要点清单、复核要点清单、一级复核情况记录表、二级复核情况记录表、三级复核情况记录表、规范性审核表等多个维度进行
  • 项目核算模块中的项目总览对项目金额、已收款金额、未付款金额、已开票金额、项目报销及人工等信息进行集中展示
  • 可根据工作填报中项目成员在项目上的所花费的有效工时,进行项目人工成本计算、奖金分配
  • 可单个项目维度或多个项目维度显示项目合同收款清单、报销费用清单、人工费用清单及预发奖金清单等,方便对项目进行精细化核算与分析

人力资源及薪酬管理

  • 人力资源管理系统可以自动化各种繁琐的人事管理工作,如招聘、培训、考勤、绩效评估等,大大提高了人力资源管理的工作效率
  • 人力资源管理系统可以帮助企业精简管理流程,减少人力投入和管理成本,提高了企业的竞争力
  • 人力资源管理系统可以提供详细的管理报告和数据分析,帮助企业了解员工情况和企业状况,从而制定更科学合理的人力资源管理策略
  • 人力资源管理系统可以提供更便捷的员工自助服务,如查看个人信息、考勤记录、工资单等,提高员工满意度和对企业的认同感
  • 薪酬管理覆盖员工全生命周期的复杂算薪场景,运用云平台智能化,实现考勤数据自动采集,覆盖不同类型员工入转调离及离职后的全生命周期薪酬管理需求
  • 内置高弹性可扩展自定义的函数配置功能,满足集团化多业态组织复杂薪酬管理
  • 内置标准汇总查询功能,企业大多数查询需求都可直接实现
  • 标准的图说人事数据可视化模块,显示人事薪酬相关大数据

阿米巴绩效管理

  • KPI指标是在阿米巴核算报表的基础上,采用特定的标准和计算公式,对阿米巴组织的工作业绩进行评价,KPI的目的除了进行业绩评价,还应该通过考核发现经营问题、改进问题,找到差距进行业绩提升
  • 在软件中,不同类型的阿米巴组织可以设置不同的KPI指标和权重
  • KPI指标在软件中是通过阿米巴核算报表数据,根据设置的计算公式自动计算
  • KPI指标影响阿米巴组织的奖金分配
  • 对于无法通过阿米巴核算报表数据进行计算,通过KPI指标进行量化考核的阿米巴考核项目,可以通过“阿米巴定性考核”模块中进行定义,采用整体评价的方式进行量化评分
  • 阿米巴定性考核的流程为:
  • 考核指标及明细指标定义
  • 指标考评打分
  • 考评结果汇总
  • 考核指标及明细指标可以设置“评分人员”及“被考核评分部门”,实现“360度”考核评价
  • 阿米巴定性考核评分结果按照权重,参与阿米巴组织效能评价结果计算
  • 阿米巴组织效能评价通过雷达图,对阿米巴的KPI指标及定性考核评价结果,直观的进行显示
  • KPI指标及定性考核评价结果,按照权重汇总计算,最终以百分制的分数进行体现
  • 相同类型的阿米巴组织依据组织效能评价分数进行排名,经营业绩好坏一目了然
  • 阿米巴奖金按照组织效能评价分数及分配系数进行计算分配
  • 员工积分制考核是对员工的业绩、能力和综合表现用奖分和扣分进行量化考核,并用软件记录和奖励的一种管理方法,可以为员工阿米巴奖金及福利的发放,选人、用人、留人机制的建立,以及各项名誉的排名、待遇的落实,提供重要的参考依据和标准
  • 员工积分由以下几项构成:
  • 业绩考核积分 
  • 专业技能考核积分 
  • 学习积分
  • 个人修养积分 
  • 企业文化积分 
  • 经营改善积分
  • 业绩考核积分 
  • 专业技能考核积分 
  • 学习积分
  • 个人修养积分 
  • 企业文化积分 
  • 经营改善积分
  • 员工当月积分=∑积分项目分项得分*权重

阿米巴经营分析与改善

  • 软件支持按天、月、年及自定义报表周期计算阿米巴核算报表
  • 软件提供功能强大的自定义报表函数。可以计算生成各种复杂经营报表
  • 软件支持报表自动汇总及自动合并功能
  • 阿米巴核算报表具备经营计划执行分析功能

    透过数据发现真相!

  • 基于人工智能与大数据技术,从人、财、物、时等多个维度诊断企业经营现状,实现阿米巴经营数据的智能分析
  • 利用数据大屏,显示分析各巴利润、收入、成本、费用、工时、工效等阿米巴经营指标的完成情况
  • 对于各项经营指标,可以进行量、价分析,以及对比计划、同比、环比的分析
  • 针对在经营分析软件模块中发现的经营问题,可以在经营改善软件模块中设立“改善课题”,组建课题小组进行经营改善活动
  • 经营改善模块包括以下几个子模块:
  • 课题登录 
  • 课题实施 
  • 课题报告
  • 成果评级 
  • 评级基准维护
  • 经营改善经过成果评级后,课题小组成员可以获得阿米巴课题改善积分奖励,获得的奖励积分计入阿米巴奖金分配时的个人总积分中

阿米巴奖金分配

  • 部门兑现按照阿米巴组织效能评价分数及分配系数确定部门兑现金额
  • 部门兑现金额是由软件自动计算,软件同时提供特殊情况调整功能,由具有权限的人员进行参数调整,确保部门兑现金额计算结果公平合理
  • 员工兑现是在部门兑现金额确定后,依据员工的积分、岗位系数、分配系数等参数计算员工兑现金额
  • 员工兑现金额是由软件自动计算,软件同时提供特殊情况调整功能,由具有权限的人员进行参数调整,确保员工兑现金额计算结果公平合理
  • 员工兑现计算公式:
  • 员工当月积分=∑积分项目分项得分*权重
  • 员工兑现金额=部门兑现总额*个人得分/部门总积分*员工岗位系数*员工分配系数

移动应用